おかげさまで開設25周年SIALKINGDOM.COM 創業祭

SIALKINGDOM.COM

詳しくはこちら
マイストア マイストア 変更
  • 即日配送
  • 広告
  • 取置可能
  • 店頭受取

HOT ! LIKEWISE SUZUKA シフトエクステンダー ライクワイズ

※SIALKINGDOM.COM 限定モデル
YouTuberの皆様に商品の使い心地などをご紹介いただいております!
紹介動画はこちら

ネット販売
価格(税込)

7,080

  • コメリカード番号登録、コメリカードでお支払いで
    コメリポイント : 62ポイント獲得

コメリポイントについて

購入個数を減らす
購入個数を増やす

お店で受け取る お店で受け取る
(送料無料)

受け取り店舗:

お店を選ぶ

近くの店舗を確認する

納期目安:

13時までに注文→17時までにご用意

17時までに注文→翌朝までにご用意

受け取り方法・送料について

カートに入れる

配送する 配送する

納期目安:

09月20日頃のお届け予定です。

決済方法が、クレジット、代金引換の場合に限ります。その他の決済方法の場合はこちらをご確認ください。

※土・日・祝日の注文の場合や在庫状況によって、商品のお届けにお時間をいただく場合がございます。

即日出荷条件について

受け取り方法・送料について

カートに入れる

欲しいものリストに追加

欲しいものリストに追加されました

LIKEWISE SUZUKA シフトエクステンダー ライクワイズの詳細情報

LIKEWISE SUZUKA シフトエクステンダーですM12×1.25使用期間は一カ月ほどで傷は全くといっていいほどありません
  • FIAT 500 312 Left Side C Pillar Trim OEM 735426822 | eBay
  • FGHBT5712 Brake Chamber | FGH Air Brake
  • 2-033-02-0356_p_1.jpg
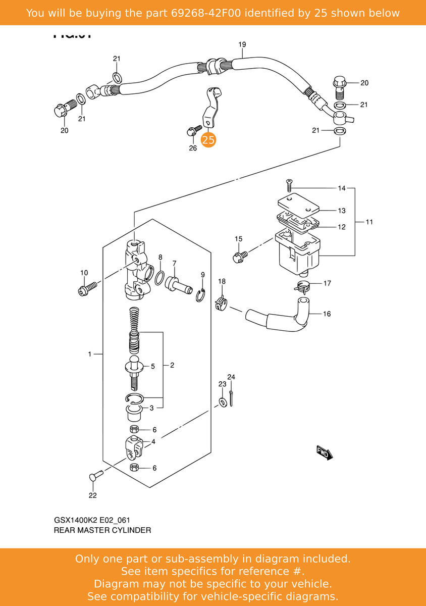
  • SUZUKI Clamp, Rear Brake Hose, 69268-42F00 OEM | eBay
  • FIAT 500 312 Left Side C Pillar Trim OEM 735426822 | eBay
  • Genuine Ford Clutch Pilot Bearing X2 1596468 for sale online | eBay
  • Genuine Ford Clutch Master Cylinder Tube 1526564 | eBay
  • GUCCI G-Timeless Silver Dial Two Tone 29mm Watch YA1265063
  • Genuine Ford Clutch Master Cylinder Tube 1526564 | eBay
  • Genuine Ford Transit Connect Mk2 Rear Brake Caliper Carrier 2013
  • Genuine Ford Transit Connect Mk2 Rear Brake Caliper Carrier 2013
  • Yacht-Master 40 watch in Rolesium - combination of Oystersteel and
  • Genuine Ford Clutch Master Cylinder Tube 1526564 | eBay
  • Rolex Yacht-Master in Platinum, Oystersteel, m126622-0001 - Laings
  • Genuine Ford Focus C-max Rear Bumper Fixing Screw Bolt Kit 1306864
  • Rolex Day-Date 36 in 18 ct Everose gold, M128235-0009 | Robert Gatward
  • Genuine Ford Clutch Pilot Bearing X2 1596468 for sale online | eBay
  • Genuine Ford Clutch Pilot Bearing X2 1596468 for sale online | eBay
  • FIAT 500 312 Left Side C Pillar Trim OEM 735426822 | eBay
  • Engine oil filter - Plant & Engineering Services

同じカテゴリの 商品を探す

ベストセラーランキングです

このカテゴリをもっと見る

この商品を見た人はこんな商品も見ています

近くの売り場の商品

このカテゴリをもっと見る

カスタマーレビュー

オススメ度  5点

現在、2376件のレビューが投稿されています。